股票配资交流平台 华映科技:公司诉华映百慕大、大同股份、中华映管合同纠纷一案已进入二审程序
华映科技在互动平台上表示股票配资交流平台,公司诉华映百慕大、大同股份、中华映管合同纠纷一案已进入二审程序。
举报 第一财经广告合作,请点击这里此内容为第一财经原创,著作权归第一财经所有。未经第一财经书面授权,不得以任何方式加以使用,包括转载、摘编、复制或建立镜像。第一财经保留追究侵权者法律责任的权利。如需获得授权请联系第一财经版权部:banquan@yicai.com 相关阅读
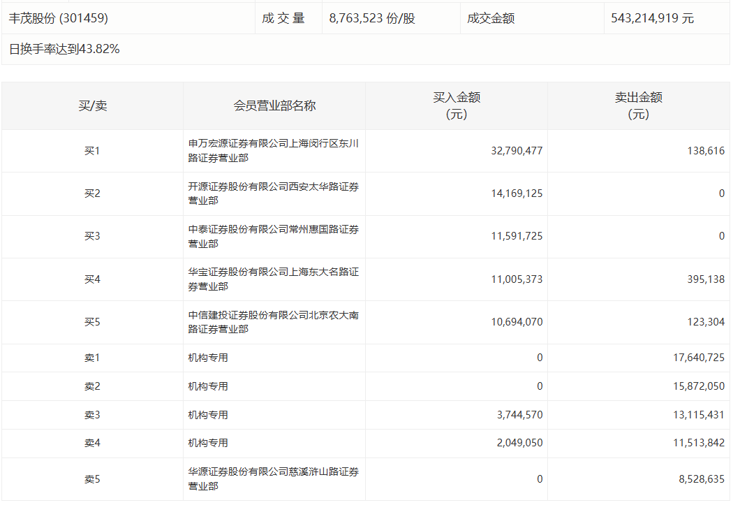
丰茂股份今日涨停 机构专用席位净卖出5234.84万元
0 05-19 16:37
A股停牌提示:16股今日停牌
0 04-16 09:03
主力今日尾盘买卖这些个股
0 04-08 15:59
百达精工:杭州重湖拟减持公司不超3%股份
0 04-06 16:41
三联锻造:持股5%以上股东拟减持不超过3%公司股份
0 04-06 16:08 一财最热 点击关闭富利证券提示:文章来自网络,不代表本站观点。